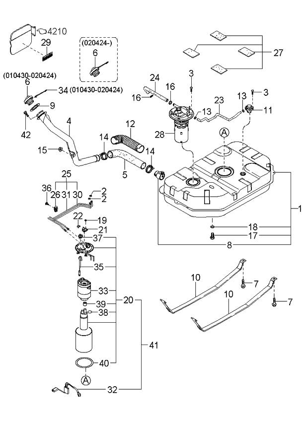
Kia Sedona Fuel System Diagram

46+ Kia Sedona Fuel System Diagram Images. Learn all about the details of the 2021 kia sedona minivan, such as the passenger capacity, available cargo space, exterior dimensions, and more! Variable rack stroke system module, variable rack stroke system control button.

944601R500 - Genuine Kia SENDER ASSEMBLY-FUEL PUMP
944601R500 - Genuine Kia SENDER ASSEMBLY-FUEL PUMP from www.kiapartsnow.com
Fuse box in engine compartment. Variable rack stroke system module, variable rack stroke system control button. This webpage contains kia sedona workshop manual pdf used by kia garages, auto repair shops, kia dealerships and home mechanics.

Whatever type of kia sedona you own, haynes have you covered with comprehensive guides that will teach you how to fully maintain and service your vehicle.

Fuse box diagram (location and assignment of electrical fuses) for kia sedona (2002, 2003, 2004, 2005). 2006 kia sedona bad fuel injector/pump 1 answer. Whatever type of kia sedona you own, haynes have you covered with comprehensive guides that will teach you how to fully maintain and service your vehicle. Variable rack stroke system module, variable rack stroke system control button.


Belum ada Komentar untuk "Kia Sedona Fuel System Diagram"

Posting Komentar

Iklan Atas Artikel

Iklan Tengah Artikel 1

Iklan Tengah Artikel 2

Iklan Bawah Artikel